Apple patents iPad smart cover for smart notification
Apple makes huge profit from its devices that includes iPads as well, and Apple is trying to make iPad users’ experience even better. Apple patents iPad smart cover that can interact with apps and widgets to display smart notification to the users. There are so many covers and cases available in the market, but Apple is working on something great.
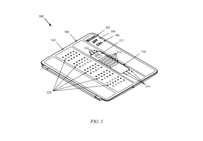
These are the drawings of the iPad Smart Cover that can give you an idea how it would look like
iPad Smart Cover would have three panels in it according to the drawing. Those panel would show widgets and notifications. So you don’t need to uncover your iPad every time to see the notification. It would be very useful to check new messages, emails, social media and other notifications.
This is likely that Apple will update iOS, and provide new apps and widgets option for iPads to interact with this Smart Cover. App developer will also get opportunity to develop new apps or update their existing apps to make it work with iPad Smart Cover.
Apple has been rumored to make iPad Pro with 12 inches display, and this type of cover for such large display will be very useful. Apple products are usually expensive, so this smart cover would also be expensive.


